When it comes to virtual reality all you ever hear about is Oculus this and Oculus that. Listen, we know the Oculus is going to be fantastic—whenever the company and its Facebook overlords manage to craft something vaguely resembling a retail product—but that day has not yet come. They’re fantastic devices, and as I own both of the Oculus iterations, I know first hand, but they’re just not ready for the big time yet.
Thankfully, there are other virtual reality options out there, some of which you can already buy, and others which have a chance to swoop in and steal the VR crown before an Oculus even reaches store shelves.
The big hitters
Sony Project Morpheus
Project Morpheus is Sony’s answer to the Oculus Rift, and thus far it’s proved to be a top contender for your future virtual reality dollars. It’s a full-sized headset that works with the PlayStation 4 and PlayStation Vita to throw you into the games you play rather than simply having you stare at a digital screen. Sony first officially showed it off earlier this year and noted at the time that it was already over three years into development.
The guts of the device are a 1080p display and various gyroscopes and positional sensors to track minute head movements. The overall design of the device could—and probably will—change prior to a retail debut, but it’s already a pretty sleek and sexy looking gadget that turns its wearers into some sort of Star Wars-esque, cyborg super hero.
The only bummer here is that we, and perhaps even the folks at Sony, have little clue as to when development will yield a consumer-level product. Sony has been quite open about its development in 2014, even allowing GDC attendees to test it out with a variety of demo games, but we still know absolutely nothing about important things like price and availability. Could it upstage Oculus? Absolutely, but the timing would have to be right.
Valve
Like Sony, Valve is clearly interested in virtual reality and has been enthusiastically pursuing its own potential retail VR headset. Unlike Sony, however, Valve is clearly still in the very early stages of figuring out exactly what they want their Oculus competitor to actually do.
The dots you see on the body of the headset work with a positional tracking camera that lets you lean in and out to change your perspective relative to whatever you happen to be looking at in-game. A redditor who attended a virtual reality jam in Boston earlier this year raved about how well the early prototype performed, noting low latency and very high frame rates, both of which are hugely important for a device such as this.
Unfortunately, given the prototype’s very rough appearance—and considering Valves typically extensive and sometimes obnoxiously long product development timelines—this one isn’t very likely to sneak in and steal the Oculus Rift’s spotlight.
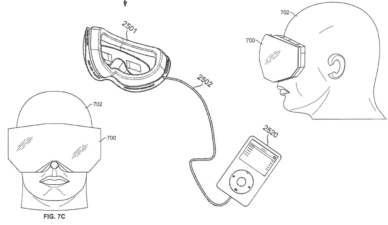
Apple
Apple has been kicking around patents for a virtual reality headset for several years, and given the whole iPhone, iPad, Apple Watch thing—they’re pretty popular devices, in case you hadn’t heard—it’s probably worth mentioning that there might be something very cool cooking in Cupertino.
Patents aren’t necessarily an indicator that a specific product is actually in the works, but it’s certainly a sign that such a thing has crossed a company’s collective mind. Apple’s drawings for its could-be headset are quite extensively detailed and show a device much like that of the Oculus Rift and its contemporaries, even going so far as to show the wearable hooked up to an iPod-like device
This is all very interesting, especially now that the company has been caught red-handed putting the call out for VR experts to join its team.
Smartphone VR
Google Cardboard
Of all the headsets on the list, Google’s Cardboard is by far the most affordable, thanks of course to the fact that it’s made of pressed paper, velcro, and a couple of cheap plastic lenses. However, assuming you constructed your Cardboard kit with any sort of diligence, it works just as well as many of its more expensive competitors thanks to the fact that its key component—your Android smartphone—is doing the heavy lifting.
Like the Gear VR and Durovis Dive (we’ll get to those in a second), Google Cardboard is simply a housing for your phone that uses a pair of lenses and a screen divider to create a crude but effective virtual reality experience. Upon its launch, there were just a handful of apps that were built to be used with such an accessory, but now there are dozens more, and they seem to be growing in quality all the time.
Depending on your phone model—I had a great time with my HTC One M8 and its high-res screen—you might already be able to get your fill of virtual reality awesomeness ahead of the release of a full-fledged headset, and for a fraction of the price.
Samsung Gear VR
Samsung did it again. The popular tech giant went and made a device that is useful only for customers who have already bought a different one of their devices. I’m talking of course about the Samsung Gear VR, a virtual reality headset that is only an option for you if you already own a Galaxy Note 4.
For the dozen of you who actually purchased the Note 4, the Gear VR lets you slip your phablet into its sturdy plastic chassis where it connects to a variety of additional sensors, including an accelerometer, gyroscope, and proximity sensor, to boost the device’s muscles above what the Galaxy Note 4 boasts on its own.
The Gear VR was developed in cooperation with Oculus, and as such it’s expected to be quite a capable device, though the amount of content it will be able to use is entirely dependent on developer support. Samsung is expected to launch it in December, though a price has yet to be announced.
Durovis Dive
Think of the Durovis Dive kind of like Google Cardboard on steroids. Like the Cardboard, it uses your Android device as the basis for its virtual reality capabilities, but that’s where the similarities end. It’s an extremely sturdy and well-made gadget with a thick, comfortable band and durable construction—this is certainly not something anyone could say about the cardboard versions.
It sells for about $70, which is a sizeable investment, but after spending a good deal of time with the Dive I can tell you that it’s definitely worth it if you’re going to be using it on any sort of regular basis. It fits a variety of phones and the internal lenses are infinitely adjustable to fit any eye/head/face configuration. I mean, unless you have three eyes or something, in which case, wow, can we be friends?
A blast from the past
Virtual Boy

Virtual Boy
Remember when we all thought this was virtual reality?
My, how far we've come.
Photo via pestoverde/Flickr (CC 2.0)












